蘋果專利探索妙控鼠標未來:從“二維輸入工具”進化為“環境感知終端”
2025-03-19 15:41:41 小編:鑫昌軟件園
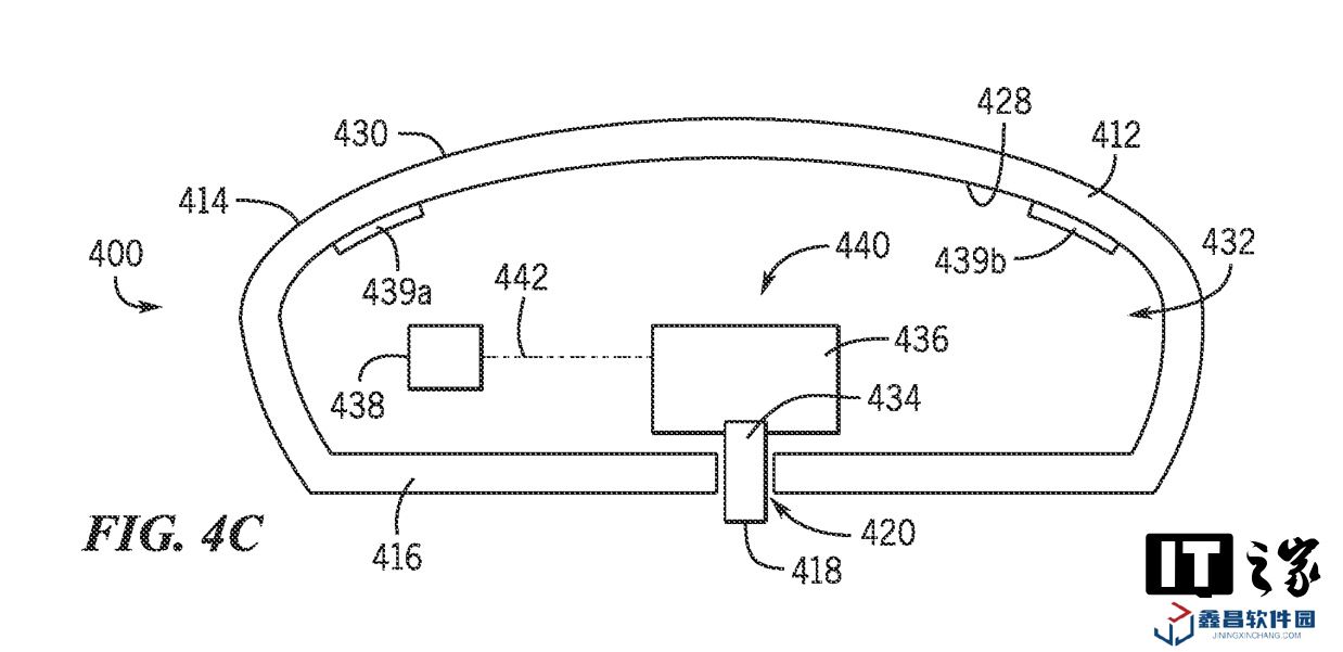
本站 3 月 19 日消息,科技媒體 patentlyapple 昨日(3 月 18 日)發布博文,報道稱美國專利商標局正式授予蘋果一項專利,涉及未來妙控鼠標的潛在設計升級。

該技術可通過觸覺反饋模擬沙地、冰面等不同表面質感,提升游戲等場景的沉浸感。專利涵蓋 3D 設計、網頁瀏覽等多領域應用,旨在通過增強物理交互反饋,彌補傳統鼠標僅限視覺與聽覺體驗的不足。

傳統鼠標、游戲手柄等輸入設備僅能提供基礎觸覺反饋(如震動),而蘋果專利通過動態調節摩擦,實現了更細膩的交互體驗。
以往鼠標無法根據屏幕內容調整物理反饋,僅能依賴視覺提示;新技術則將觸覺與視覺結合,形成多感官聯動。除游戲,該技術可輔助 3D 建模時的精細操作,或幫助視障用戶通過觸覺識別網頁元素。
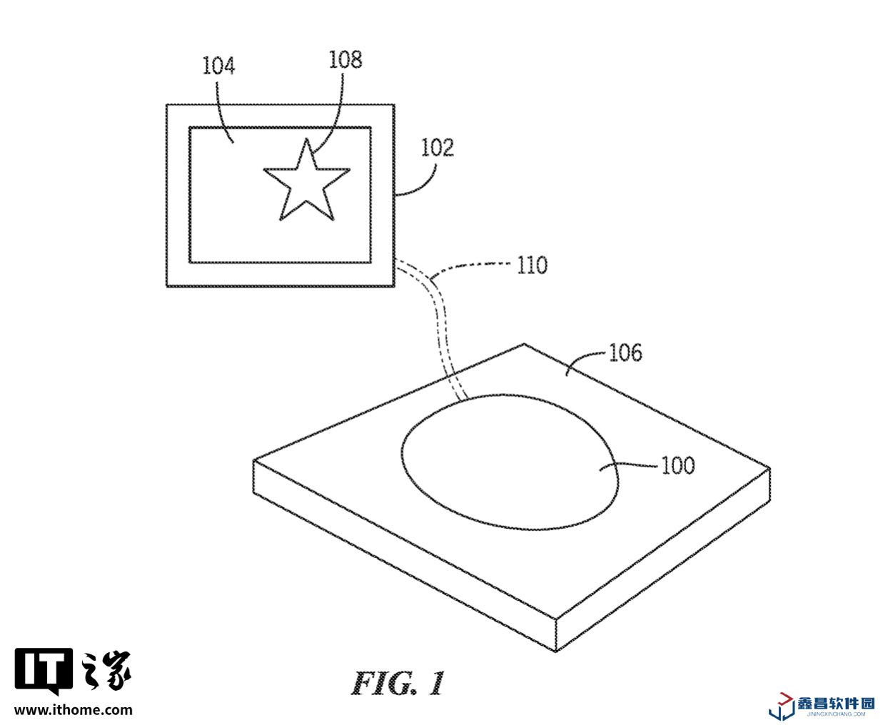
本站援引博文介紹,蘋果專利中介紹了 3 種場景,通過調整鼠標與桌面間的摩擦力,實時匹配屏幕顯示的虛擬環境:
場景 1:冰面與沙地
當光標移動至屏幕上的“冰面”區域,鼠標與桌面的摩擦力維持較低;若移至“沙地”,摩擦力則增強,模擬真實阻力差異。
場景 2:虛擬環境動態反饋
游戲中角色涉水或背負重物時,鼠標移動阻力可相應增加;若角色健康狀態良好,則阻力降低,增強情境代入感。
擴展應用:模擬復雜紋理
除基礎材質,該技術還能模擬金屬凹凸、虛擬 / 增強現實中的三維物體觸感,甚至調整鼠標橫向移動的難易度以匹配游戲狀態。






- 猜你喜歡
-
刺激大闖關0.1折充值版12.33MB手游下載 -
武林俠客傳破解版127.2MB手游下載 -
柱子英雄九游版135.95MB手游下載 -
料理媽媽來煮飯吧最新版90.62MB手游下載 -
火山捕魚最新版107.18MB手游下載 -
恐龍寶貝神奇之旅0.05折版723.50MB手游下載 -
展翅翱翔手游官方版956.49MB手游下載 -
彩虹朋友太空狼人殺最新版85.10MB手游下載 -
超級黑暗欺騙正式版89MB手游下載
- 相關手機游戲
-
火柴人超級格斗九游版73.14MB手游下載 -
九七電影院手機版支持微信微博最新版本下載73.63MB手游下載 -
月影直播免費下載87.12MB手游下載 -
小懂健康70.87MB手游下載 -
伊人直播app版下載app下載88.94MB手游下載 -
萌萌塔防0.1折版12.35MB手游下載 -
劍斗璇霄0.1折520.20MB手游下載 -
猴哥快跑小游戲賺錢版14.66MB手游下載 -
小瑪麗捕魚官方正版121.03MB手游下載
- 推薦鑫昌秘籍
- 最新手機精選
-
櫻桃視頻直播官方版下載2025-01-28手游下載 | 88.51MB -
TFS飛行模擬器破解版2025-02-14手游下載 | 86.66MB -
Poppy Playtime第五章正版2025-01-15手游下載 | 603MB -
道歉模擬器最新版2025-02-18手游下載 | 113.27MB -
地鐵跑酷火山難度版2025-02-21手游下載 | 57.33MB -
幕后的Nexbox沙盒最新版本2025-01-17手游下載 | 593.47MB











