任天堂確認 Switch 2 游戲機不兼容 Labo VR 紙板頭顯配件
2025-04-06 09:59:41 小編:鑫昌軟件園
本站 4 月 6 日消息,外媒Roadtovr聯系任天堂,確認任天堂在2019年推出的 Labo VR紙板頭顯配件不兼容Switch 2游戲機。

據悉,由于Switch 2游戲機尺寸相對于初代Switch有所調整,因此無法裝入 Labo VR紙板頭顯配件,不過這可以通過魔改 / 重新開模自制相應頭顯配件來解決。
但目前尚不知悉任天堂是否會對 Labo VR 配套的游戲進行限制,例如使其直接無法在Switch 2平臺上運行,考慮到任天堂已宣布“Labo VR配件不支持Switch 2”,因此該公司很有可能在相應游戲機上施以限制,具體還需實機到手專門進行測試。
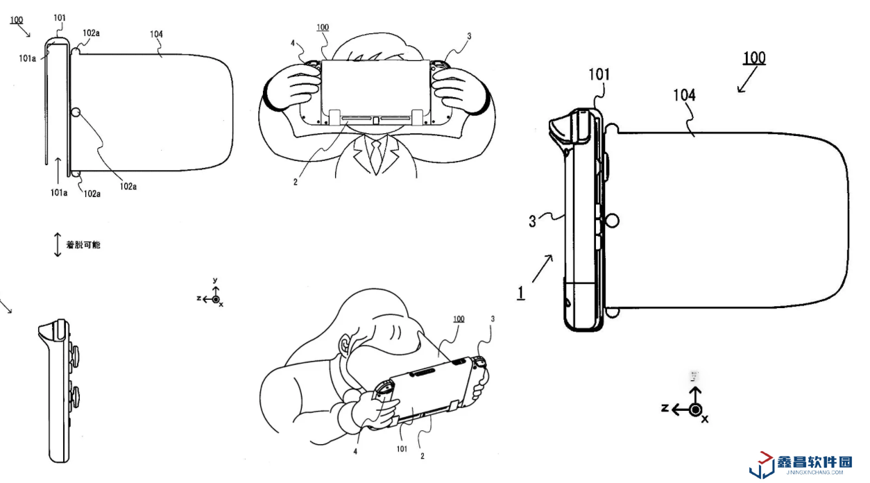
本站同時注意到,任天堂在2024年公開的一項專利顯示該公司很有可能推出第二代 Labo VR紙板頭顯,這意味著Switch 2不兼容現款 Labo VR紙板頭顯的原因可能是“任天堂計劃推出新的VR頭顯配件”。

任天堂 Switch 2 直面會專題
- 猜你喜歡
-
網易嚴選官方版49.36M手游下載 -
4399游戲盒下載蘋果版29.14M手游下載 -
多多買菜平臺下載5.79MB手游下載 -
八番出口手游262.8MB手游下載 -
Dancerail3舞蹈軌跡3最新版1.33GB手游下載 -
人類無限進化免廣告破解版4.27MB手游下載 -
美職籃巔峰對決最新版本1.19GB手游下載 -
云永劫無間官方版66.90MB手游下載 -
西西漫畫韓國漫畫22.46MB手游下載
- 相關手機游戲
-
開放空間九游版1.9GB手游下載 -
怪物樂土手游官方版314.41MB手游下載 -
VIP瀏覽器17.52MB手游下載 -
云貓壁紙9.98MB手游下載 -
臉貓舊版本下載44.86MB手游下載 -
南巡tv電視直播軟件16.10MB手游下載 -
歐歌影視魔改版本下載37.05MB手游下載 -
海信學堂38.50MB手游下載 -
成長帝國羅馬破解版113MB手游下載
- 推薦鑫昌秘籍
- 任天堂確認 Switch 2 游戲機不兼容 Labo VR 紙板頭顯配件
- 明星志愿3詳細攻略,內含隱藏劇情觸發技巧!
- 《我的世界大電影》周五進賬 5800 萬美元,有望成美國年度最大開畫影片
- 拯救孢子人游戲評測:這款游戲到底好不好玩?
- 俄羅斯釣魚4下載后怎么玩?新手入門攻略看這里!
- AOC 推出新款“24B35H”23.8 英寸顯示器:1080P 120Hz 超頻,國補后 399 元
- 比亞迪子公司斥資約 3.75 億元再次在西安拿地,原為寶能汽車用地
- 比爾?蓋茨:我們生來不是為了工作,AI 將取代人類做大部分事情
- qdc 推出旗下首款單動圈定制耳機 Debut 系列:10mm 動圈、Live / Studio 雙版本,2640 元
- 對標 SpaceX:亞馬遜計劃 4 月 10 日啟動首批“柯伊伯計劃”互聯網寬帶衛星發射部署
- 最新手機精選
-
櫻桃視頻直播官方版下載2025-01-28手游下載 | 88.51MB -
TFS飛行模擬器破解版2025-02-14手游下載 | 86.66MB -
Poppy Playtime第五章正版2025-01-15手游下載 | 603MB -
恐怖逃脫官方版2025-02-01手游下載 | 239.33MB -
花心直播軟件在哪里下載安卓版最新版2025-03-15手游下載 | 85.77MB -
一個人在線觀看的免費視頻www安卓最新版2025-03-11手游下載 | 53.79MB






