Bongo 項目有望復活,蘋果新專利暗示未來 iPhone 可配觸覺按鈕
2025-04-19 17:19:39 小編:鑫昌軟件園
本站 4 月 19 日消息,科技媒體 AppleInsider 昨日(4 月 18 日)發布博文,蘋果公司此前放棄的“Bongo 項目”,近期在一項專利申請中重新浮出水面,暗示未來 iPhone 仍有望配備觸覺按鈕。
本站援引博文介紹,蘋果公司最早于 2022 年提出 Bongo 項目,計劃在更昂貴的 iPhone Pro 系列中引入觸覺音量和電源按鈕。
相比較傳統按鈕,新設計內置專用觸覺引擎(Bongo Haptic Engine),通過振動反饋提升用戶體驗,同時在外觀上區分基礎款與高端款。有消息稱蘋果在 2023 年 4 月放棄該開發計劃,不會應用在 iPhone 15 Pro 機型上。

蘋果還在 iPhone 14 Pro、15 Pro Max 及 16 系列的原型機上測試了該設計,甚至制作了功能完整的 EVT 階段原型。盡管如此,由于測試結果不理想及硬件故障率高,Bongo 設計從未進入量產階段。
根據最新公示的專利,蘋果公司于 2023 年 9 月提交申請,于 2025 年 4 月獲批。

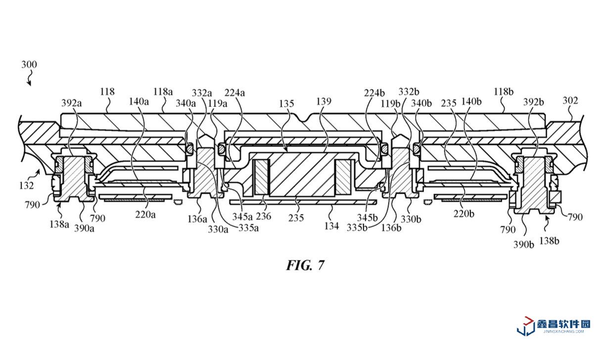
根據專利描述,Bongo 項目的觸覺按鈕設計依賴于柔性結構和應變計來感知壓力變化。一旦檢測到按壓,電信號會傳輸至“Bongo Haptic Engine”,通過電磁阻尼電機(由鐵磁核心和銅線圈組成)產生振動反饋,與常規 Taptic Engine 的工作原理類似。

雖然專利申請未提供全新信息,但透露 Bongo 設計可能應用于“多種電子設備”,包括智能手機、平板電腦、可穿戴設備、頭戴式設備及“電子筆”。這意味著觸覺按鈕未來或將出現在 Apple Watch、Apple Vision Pro 或 Apple Pencil 上。
- 猜你喜歡
-
咸魚喵喵手機版553.39MB手游下載 -
群星紀元最新版本1.22GB手游下載 -
宇智波斑破碎現實官方版下載530.04MB手游下載 -
COD19自制版最新版本2.05GB手游下載 -
三國真龍傳最新版292.07MB手游下載 -
幻日夜羽蜃景努瑪梓手游763.54MB手游下載 -
養只寵物球手機版493.77KB手游下載 -
魔女之家手機漢化版219.7MB手游下載 -
神椿市協奏中官方正版1.60GB手游下載
- 相關手機游戲
-
紅色境地模組版533.45MB手游下載 -
Granny重新想象手機版699.4MB手游下載 -
寂靜之夜游戲最新版246.73MB手游下載 -
卡車大師世界模擬器官方版未知手游下載 -
猶格索托斯的庭院手機版563.81MB手游下載 -
假面騎士Evol驅動器模擬器41.90MB手游下載 -
凱蒂貓和好朋友們官方版102.89MB手游下載 -
阿西美女室友竟然游戲手機版185.17MB手游下載 -
植物大戰僵尸我的世界版手機版144.2MB手游下載
- 推薦鑫昌秘籍
- Bongo 項目有望復活,蘋果新專利暗示未來 iPhone 可配觸覺按鈕
- 我國成功發射試驗二十七號衛星 01 星~06 星
- 摩托羅拉 Loop Buds 耳機和 Watch Fit 智能手表高清渲染圖曝光
- 未來 XR 頭顯交互神器:蘋果獲批筆狀控制器專利
- 任天堂美國:4 月 24 日重開 Switch 2 預定,主機 / 游戲價格不變、部分配件漲價
- OPPO Find X8 Ultra / X8s 手機維修備件價格公布,屏幕組件 1050 元起
- JetBrains Pycharm IDE 社區版和專業版合二為一
- 極空間私有云 2025 年 4 月功能升級發布,全新 UI 、支持“Strm”、Docker Compose 等
- 研究稱生成式 AI 背后隱藏高昂水電消耗,直接影響數據中心周邊生活成本
- 微軟發布 Win11 23H2 Beta 22635.5240 預覽版:修復文件管理器深色模式顯示問題
- 最新手機精選
-
櫻桃視頻直播官方版下載2025-01-28手游下載 | 88.51MB -
TFS飛行模擬器破解版2025-02-14手游下載 | 86.66MB -
Poppy Playtime第五章正版2025-01-15手游下載 | 603MB -
花心直播軟件在哪里下載安卓版最新版2025-03-15手游下載 | 85.77MB -
月夜直播免費版下載觀看下載官方版2025-02-09手游下載 | 55.74MB -
挺好tvbox電視版2025-02-13手游下載 | 39.09MB











