蘋果 MacBook 磁吸系統 2.0 專利曝光:防干擾 + 強吸附,比 MagSafe 更智能
2025-04-04 09:21:02 小編:鑫昌軟件園
本站 4 月 4 日消息,科技媒體 patentlyapple 昨日(4 月 3 日)發布博文,報道稱蘋果公司獲批一項新專利,涉及在 MacBook 屏幕蓋板中引入新型磁性系統,一方面提升結構強度,另一方面解決現有磁吸設計可能干擾周邊設備(如信用卡)的問題。
蘋果在專利背景中指出,當前 MacBook 采用永磁體實現屏幕閉合鎖定,但開啟使用時仍會持續釋放磁場。例如,為保障吸合強度設計的強磁體,可能對近距離放置的信用卡等物品造成磁化損壞,這一問題在筆記本電腦長時間開啟辦公場景中尤為突出。

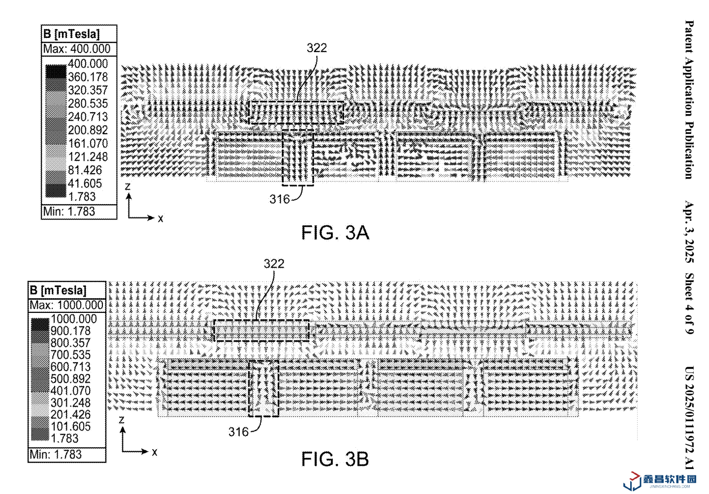
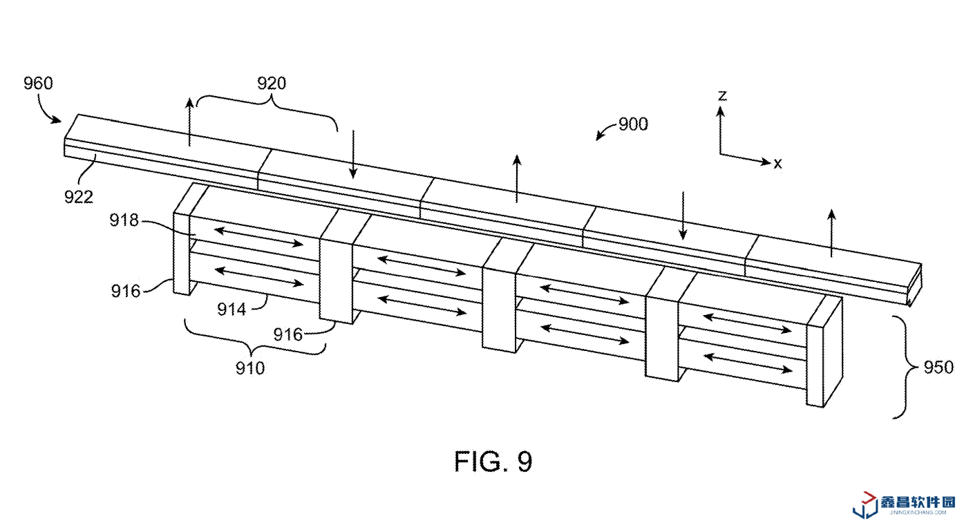
新專利的核心是組合“電永磁體陣列”(EPM array)與固定磁體陣列。EPMs 僅需瞬時電流即可切換磁極方向:單向脈沖激活磁場,反向脈沖則完全關閉,其最大優勢在于斷電后仍能保持當前磁狀態,僅在切換時消耗電能。系統可靈活產生吸力(閉合固定)、斥力(彈開屏幕)或零磁場(使用中防干擾)三種模式。

專利示意圖顯示,EPM 陣列可內置于筆記本底座,與屏幕蓋板中的固定磁體對應。通過分段控制 EPMs,能實現局部精準磁力調節。例如合蓋時激活全部 EPMs 產生均勻吸力;開蓋時關閉所有磁場;快速啟動場景下,亦可利用斥力實現屏幕“一鍵彈開”。該設計同時解決了結構強度與電磁兼容性問題。

在列出的三位發明人中,Jean-Marc Gery 的身份尤為特殊。其作為磁性技術公司 HIMARC Simulations 的所有者,暗示蘋果可能通過專利收購或技術合作引入該關鍵技術。

另兩位蘋果工程師 John DiFonzo(產品設計經理)和 Makihata Mitsutoshi(生物機電專家)則曾參與量子計算、可穿戴傳感器等項目,顯示該專利的跨學科特性。
- 猜你喜歡
-
VIP瀏覽器17.52MB手游下載 -
云貓壁紙9.98MB手游下載 -
臉貓舊版本下載44.86MB手游下載 -
南巡tv電視直播軟件16.10MB手游下載 -
歐歌影視魔改版本下載37.05MB手游下載 -
海信學堂38.50MB手游下載 -
成長帝國羅馬破解版113MB手游下載 -
火焰女孩最新版本45.97MB手游下載 -
悠星大陸官方正版1.95GB手游下載
- 相關手機游戲
-
健身模擬器手機版399.34MB手游下載 -
太平洋房屋免費下載app50.26MB手游下載 -
scene5軟件下載7.53MB手游下載 -
微甜暢聊49.55MB手游下載 -
他趣安卓解鎖軟件82.2MB手游下載 -
視頻全能看安卓版36.68MB手游下載 -
英文日文翻譯19.31MB手游下載 -
地牢獵人4中文直裝版929.3MB手游下載 -
大頭菜菜歷險記最新版本125.21MB手游下載
- 推薦鑫昌秘籍
- 蘋果 MacBook 磁吸系統 2.0 專利曝光:防干擾 + 強吸附,比 MagSafe 更智能
- 精靈寶可夢哪個最厲害?平民玩家推薦這幾個!
- 老巫婆的故事是真的嗎?這些民間傳說你聽過幾個?
- 蘋果 watchOS 11.5 開發者預覽版 Beta 發布
- 蘋果 visionOS 2.5 開發者預覽版 Beta 發布
- 九號行業首發兩輪電動車百度地圖導航功能:紅綠燈倒計時、導航 3D 效果
- 谷歌 AI 筆記應用 NotebookLM 新增“發現資料”功能,可自動檢索相關網絡資源
- 時速 200 公里、車窗顯示信息,中車長客國內最新一代智能城際動車組下線
- 百度飛槳框架 3.0 正式版發布,五大特性專為大模型設計
- 任天堂 Switch 手機應用更新,Switch 2 截圖、視頻分享更便捷
- 最新手機精選
-
櫻桃視頻直播官方版下載2025-01-28手游下載 | 88.51MB -
TFS飛行模擬器破解版2025-02-14手游下載 | 86.66MB -
Poppy Playtime第五章正版2025-01-15手游下載 | 603MB -
天朝相親圖鑒清軟完結版2025-01-30手游下載 | 341.78MB -
熊貓微剪免費下載鏈接2025-02-04手游下載 | 144.05MB -
MWT坦克戰爭最新版本2025-01-23手游下載 | 1.89GB








